Explore our new website with daily updates! If you don't see what you need, call us at 210-656-2323.
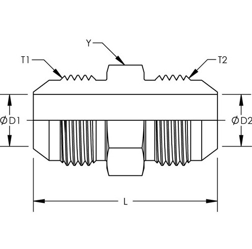
JIC / JIC
NPT / JIC
NPT / NPT